您好,欢迎来到日本购物网! 请登录 免费注册 [帮助中心]
8:30-12:00/13:00-18:30
400-668-2606
MC29 純正 オイルエレメント セット . Vツイン マグナ 250 ドレンプラグ MC33 VTR アルミ ワッシャー MC25 ゼルビス / kea/120s
MC29 純正 オイルエレメント セット . Vツイン マグナ 250 ドレンプラグ MC33 VTR アルミ ワッシャー MC25 ゼルビス / kea/120s [浏览原始页面]
当前价:2190 日元(合105.34人民币)

加价单位:0 日元/0.00 人民币

一口价:2200 日元 合 105.82 人民币
当前最高出价者: 出价次数:0
距结束:
6967.3940801
手动刷新
升级包月会员,免预付款出价! 《会员制说明》
卖方资料

卖家账号:バイクパーツ四国中央

卖家评价:好评:21357 差评:19

店铺卖家:不是

发货地址:愛媛県

商品信息

拍卖号:k1207179466

结束时间:11/23/2025 11:20:21

日本邮费:买家承担

可否退货:不可

开始时间:11/16/2025 12:20:21

商品成色:新品

自动延长:可

个 数:1

提前结束:可

最高出价:

拍卖注意事项

1、【自动延长】:如果在结束前5分钟内有人出价,为了让其他竞拍者有时间思考,结束时间可延长5分钟。

2、【提前结束】:卖家觉得达到了心理价位,即使未到结束时间,也可以提前结束。

3、参考翻译由网络自动提供,仅供参考,不保证翻译内容的正确性。如有不明,请咨询客服。

4、本站为日拍、代拍平台,商品的品质和卖家的信誉需要您自己判断。请谨慎出价,竞价成功后订单将不能取消。

5、违反中国法律、无法邮寄的商品(注:象牙是违禁品,受《濒临绝种野生动植物国际贸易公约》保护),本站不予代购。

6、邮政国际包裹禁运的危险品,邮政渠道不能发送到日本境外(详情请点击), 如需发送到日本境外请自行联系渠道。

MC29 マグナ250 純正 オイルエレメント+ドレンボルト M12+アルミワッシャー (社外)
  
商品内容
MC29   .    E-11   .    10     :  エレメントセット、オイルフィルタ     kea
MC29   .    E-11   .    23     :  ドレンボルト            ( 純正  :  M12 )  
MC29   .    E-11   .    24     :  クラッシュワッシャー  ( アルミ : 社外品 12.2x20x2 )


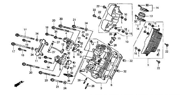
適合一例   (添付図: MC29-100~150)
MC33-100~170  VTR    VTR-F       VTR250                 ドレンプラグ : 12㎜
MC29-100~170  V-TWIN MAGNA    マグナ 250              ドレンプラグ : 12㎜
MC25-100         XELVIS               ゼルビス 250            ドレンプラグ : 12㎜



                    複数必要な場合は落札価格x必要個数で対応させていただきます。       追加分は送料に加算












通常在庫の商品ですが店頭でも販売しておりますのでお急ぎの場合は在庫の確認をお願いします。

送料   60サイズ    (梱包手数料含む)        地域別送料はこちらからhttp://unosyoukai.com/tyumon.html

レターパックプラス発送     送料600円 
(時間/日時指定不可/問い合わせ番号あり/手渡し/4kgまで

(代引き不可)


運送保障はありませんが定形外郵便での発送ご希望の場合は350円で発送させていただきます。
  (発送手数料含む/2setまで)

 (発送後に評価にて発送連絡いたします)
 (紛失、破損の保障はありません/まれに届かない事例も出ております)














純正部品一例  (図の見出し番号でご確認ください/各1個/同梱発送時の価格です/取り寄せ) 追加分は送料に加算  *

MC29       (添付図: MC29-100~150)


E- 8 .  2 . ガスケット、ジェネレーターカバー          .    750円       11636KBV000  .63
E- 8 .  9 . ボルト、フランジ  6x40                       .      60円 (1台.6個)      960010604007  .5

E- 9 .  4 . ガスケット、シフトカバー                    .   1200円    11632MY7000  .109
E- 9 .  7 . ガスケット、ウォーターポンプカバー      .     500円        19226ke8000  .37
E- 9 . 13 ワツシヤー,シーリング 6.5MM            .     200円    90463ML7000  .15
E- 9 . 15 . オイルシール. 13x22x5                    .     400円         91204KE8003  .3
E- 9 . 16 Oリング 32.95X2.62                        .     250円    91302MB0013  .20-

E-11 .  2 . ガスケット、オイルパン                      .    900           11315KE8000  .78
E-11 . 12 . シート,オイルフィルタースプリング        .   300円        15414300000  .16-
E-11 . 13 . スプリング,オイルフィルターセッティング .   400円    15415413000  .23
E-11 . 14 . ボルトCOMP,オイルフィルター            .  4700円           15420KE8000  .411








E-11 .  24 : 社外 アルミ ワッシャー 12mm       .     50円   .  サイズ 12.2 x 2. x 2.0T


 


出品商品以外につきましてはメールにてお問い合わせください。
uno_syoukai@ybb.ne.jp

御不明な点があればメールでお問い合わせ下さい。
自己紹介もあわせてご確認ください。
発送には2.3日お時間を頂く場合もございますのでお急ぎの場合は入札前にメールでお問い合わせください。
評価にて発送完了のメールに変えさせて頂きますのであらかじめご了承お願い致します。 
 




送料(発送手数料含む)
60サイズ
(離島はお問い合わせください)

ヤマト運輸  
(時間指定/午前中,14-16時,16-18時,18-20時,20-21時)

[北海道] 1750円 (北海道)
[ 東北 ]  1100円 (青森、岩手、秋田、山形、宮城、福島)
[ 関東 ]   900円 (茨城、栃木、群馬、埼玉、千葉、東京、神奈川、山梨)
[ 信越 ]   900円 (新潟、長野)
[ 北陸 ]   900円 (富山、石川、福井)
[ 中部 ]   800円 (静岡、愛知、岐阜、三重)
[ 関西 ]   700円 (滋賀、京都、大阪、兵庫、奈良、和歌山)
[ 中国 ]   700円 (鳥取、岡山、島根、広島、山口)
[ 四国 ]   700円 (香川、徳島、愛媛、高知)
[ 九州 ]   800円 (福岡、佐賀、長崎、熊本、大分、宮崎、鹿児島)
[ 沖縄 ] 1300円 (沖縄) 



ゆうパック
(時間指定/午前中,12-14時,14-16時,16-18時,18-20時,20-21時)

[北海道] 1300円 (北海道)
[ 東北 ]    900円 (青森、岩手、秋田、山形、宮城、福島)
[ 関東 ]    800円 (茨城、栃木、群馬、埼玉、千葉、東京、神奈川、山梨)
[ 信越 ]    800円 (新潟、長野)
[ 北陸 ]    800円 (富山、石川、福井)
[ 中部 ]    650円 (静岡、愛知、岐阜、三重)
[ 関西 ]    600円 (滋賀、京都、大阪、兵庫、奈良、和歌山)
[ 中国 ]    600円 (鳥取、岡山、島根、広島、山口)
[ 四国 ]    600円 (香川、徳島、愛媛、高知)
[ 九州 ]    650円 (福岡、佐賀、長崎、熊本、大分、宮崎、鹿児島)
[ 沖縄 ]  1000円 (沖縄)





http://unosyoukai.com/hondaps-tu.html







E-11 . 10 . エレメントセット、オイルフィルタ          .  19          15410KEA305  .166
E-11 . 23 . ドレンボルト                                      .                  9280012000  .9

00012600010000000136000014960001645000
*0001510.90.160000017600001936000
**0001660.90.50.0000180000019800002178000

出价者 信用 价格 时间
推荐
地址: 205-0023 東京都羽村市神明台
国内客服电话:400-668-2606
E-mail:gouwujp@gmail.com
//